東晟產品分類
聯系我們
廣東東晟密封科技有限公司
電話:
傳真:
地址:石碣鎮橫滘工業區偉業街
郵編:523302
E-mail:
集裝式機械密封件的介紹
來源:廣東東晟密封科技有限公司更新時間:2016-06-14
集裝式機械密封件
集裝式機械密封件是把動密封環、靜密封環、彈簧、輔助密封圈、軸套、壓蓋靜密封墊片等7個主要零件組合成一起的一個組合型密封件,也可稱集裝式機封(Cartridge Sea1)。又有稱為卡式密封件的。
集裝式機械密封件因已組裝成一個組合型密封件。因此在機體上安裝更加方便,快捷,密封可靠,深受國內外機械用戶的歡迎,是國內今后機械密封件發展的方向。
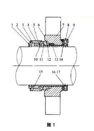
集裝式機械密封件一般都是平衡型機封,圖l所示的集裝式機封,其結構特點是全部零件組合為一個整體的密封件,彈簧不與密封端面接觸,平衡型、內流、定位塊可以調節彈簧壓縮量。考慮到當動、靜密封環磨損時可以更容易補償,設計有動環密封圈。
4:動環座
5:彈簧
6:密封墊
7:壓蓋
8、17:定位螺釘
9:定位塊
1O:動環
11:靜環
13:防轉銷
14:同定環
l5:傳動銷
16、17:緊定螺釘
軸套和壓蓋是集裝式機封不可缺少的重要零件,通過軸套和壓蓋可以把所封零件組合在一起。壓蓋又可與機體相連。當密封的工作環境溫度過高或過低,需要沖洗時,壓蓋可以加工成有沖洗孔,以滿足工況要求的需要。
緊定螺釘也是很重要的,是克服動、靜密封環摩擦力的主要零件,緊定螺釘頭部刻有螺旋槽,可以防止螺釘與軸打滑、松動。壓蓋螺栓為2個,可以直接取代。原用密封盤根密封。且無需改動原設備。機封需要沖洗時帶有沖洗孔的壓蓋,4個壓蓋螺栓,并符合API的標準要求。
集裝式機械密封件是把動密封環、靜密封環、彈簧、輔助密封圈、軸套、壓蓋靜密封墊片等7個主要零件組合成一起的一個組合型密封件,也可稱集裝式機封(Cartridge Sea1)。又有稱為卡式密封件的。
集裝式機械密封件因已組裝成一個組合型密封件。因此在機體上安裝更加方便,快捷,密封可靠,深受國內外機械用戶的歡迎,是國內今后機械密封件發展的方向。
集裝式機械密封件一般都是平衡型機封,圖l所示的集裝式機封,其結構特點是全部零件組合為一個整體的密封件,彈簧不與密封端面接觸,平衡型、內流、定位塊可以調節彈簧壓縮量。考慮到當動、靜密封環磨損時可以更容易補償,設計有動環密封圈。

1、3、12:O型密封圈
2:軸套4:動環座
5:彈簧
6:密封墊
7:壓蓋
8、17:定位螺釘
9:定位塊
1O:動環
11:靜環
13:防轉銷
14:同定環
l5:傳動銷
16、17:緊定螺釘
軸套和壓蓋是集裝式機封不可缺少的重要零件,通過軸套和壓蓋可以把所封零件組合在一起。壓蓋又可與機體相連。當密封的工作環境溫度過高或過低,需要沖洗時,壓蓋可以加工成有沖洗孔,以滿足工況要求的需要。
緊定螺釘也是很重要的,是克服動、靜密封環摩擦力的主要零件,緊定螺釘頭部刻有螺旋槽,可以防止螺釘與軸打滑、松動。壓蓋螺栓為2個,可以直接取代。原用密封盤根密封。且無需改動原設備。機封需要沖洗時帶有沖洗孔的壓蓋,4個壓蓋螺栓,并符合API的標準要求。
集裝式機封由于在密封件生產廠家清潔的環境下組裝、熟練和正確的組合可保證組裝質量。合理的彈簧壓縮量和橡膠O型圈的變形量,可以保證密封的可靠性。加上出廠前進行整體的氣密性試驗,更加保證了密封的可靠性。



