東晟產品分類
聯系我們
廣東東晟密封科技有限公司
電話:
傳真:
地址:石碣鎮橫滘工業區偉業街
郵編:523302
E-mail:
機械密封中的旋轉接頭都有什么作用呢?
來源:廣東東晟密封科技有限公司 - www.yjh69.com更新時間:2016-05-06
在機械密封所出現的旋轉接頭是一種將靜態管道連接到旋轉密封元件中的特殊機械密封,東晟密封告訴您他可以現由靜態管向旋轉設備輸送液體,用于冷卻、加熱或增壓。周時間之內也可以對裝置來處理含水冷卻劑、液壓油、傳熱油、空氣、氣體或蒸汽等。
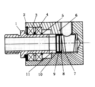
機械密封中的旋轉接頭結構截面圖
我們來看一下旋轉接頭的結構截面圖會更直觀一點,在上圖中出現的就是機械密封中的單一流體旋轉接頭的結構截面圖。下面主要介紹一下關于單一流體旋轉接頭的主要的元件都有些作用吧。
1.管接頭1:是旋轉部分與旋轉腔聯接;
2.接頭體6:為靜止部分與靜腔聯接;
3.彈簧7:主要直到密封的作用;
4.平墊8、10:主要直到密封的作用;
5.密封圈9:主要直到密封的作用;
6.橡膠套11:主要直到密封的作用;
所以這種結構的機械密封是有一個流體通道,稱為單一流體旋轉接頭機械密封。
旋轉機械密封件www.yjh69.com
