東晟產品分類
- 按產品系列分類
- >軸用密封
- >活塞密封圈
- >孔用、軸用密封圈
- >防塵圈
- >導向元件(導向環(huán)/導向帶)
- >旋轉油封
- >煤礦密封件
- >挖掘機密封
- >聚四氟乙烯密封件
- >不銹鋼油封
- >泛塞封
- >PTFE油封
- >鐵氟龍
- >橡膠密封件(硫化)
- >聚氨酯密封件
- >四氟膜片密封件
- >氣動隔膜泵膜片密封件
- >計量泵膜片密封件
- >四氟密封件
- >氟塑料制品密封件
- 按行業(yè)應用分類
- >液壓/氣動密封件/油封
- >鋼鐵廠行業(yè)專用密封件
- >煤礦行業(yè)專用密封件
- >無人機(機器人)用密封件
- >電力行業(yè)專用密封圈
- >工程機械行業(yè)專用密封圈
- >油田行業(yè)專用密封件
- >化工行業(yè)專用密封件
- >油缸/氣缸行業(yè)專用密封件圈
- >食品級機械密封圈
- >盾構機行業(yè)密封件/圈/油封
- >石油天然氣密封圈/油封
- >新能源行業(yè)油封/密封圈
- >工程機械密封件修理包(散件)
- >汽車行業(yè)油封/密封件
- >電子家電密封件/油封
- >冶金設備行業(yè)密封圈/油封
- >閥門管道行業(yè)油封/密封圈
- >制冷設備行業(yè)密封圈/油封
- >航天行業(yè)密封圈/油封
- >隔膜泵
- >計量泵膜片
液壓密封件基礎知識
來源:東莞市東晟密封件科技有限公司 - www.yjh69.com更新時間:2015-09-11
常用的軸用、孔用(往復運動用)密封方法:
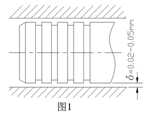
1、 間隙密封:(圖1)

優(yōu)點:簡單,不用任何密封件,摩擦力小。
缺點:不能完全阻止泄漏,且密封性不能隨壓力升高而提高。
應用:直徑較小,壓力較低,速度較快,密封性能不是很高的環(huán)境,如換向閥、 液壓泵(柱塞泵)、液壓馬達等。在油缸中幾乎不采用。
2、O形密封圈密封:(圖2)

一般用橡膠制成。
優(yōu)點:結構簡單,密封性能良好,摩擦力小。
缺點:磨損后不能補償,壽命短。
應用:可用于直線往復和回轉運動,但更多的是用于固定密封,如管路、油缸蓋 和缸套間的密封。或適用于低等級、非關鍵器件。
3、U形密封件密封(即:常用的UN密封圈或Yx形密封圈):(圖3為孔軸通用)

分類:軸用、孔用、孔軸通用三種密封件。一般選孔軸通用,即UN形密封圈。
特點:兩側唇口對稱。
優(yōu)點:結構簡單,安裝相當簡單,使用壓力較高(最高可達40Mpa),密封性能 良好,密封性能隨壓力升高而提高,并能自動補償磨損量,摩擦力小,成本低,對油缸的表面要求也不高。
缺點:① 密封圈質量容易材質影響,國產件一般壽命在1-2年。進口件則壽命 較長。
② 使用溫度一般 <100℃
③ 往復速度:≤0.5m/s 應用:相當廣泛。
4、擠壓式密封件密封(即:常見的格來圈及斯特封):(圖4)
① 格來圈(圖4)

② 斯特封(圖5)

優(yōu)點:結構簡單,使用壓力高(最高可達70Mpa),密封性能良好,密封性能隨 壓力升高而提高,并能自動補償磨損量,摩擦力小,成本低,使用溫度可達120℃,往復速度:≤15m/s,壽命長。
缺點:① 對油缸的表面要求較高。
② 安裝較困難,特別是格來圈密封件,需專用工裝。
應用:相當廣泛。
5、V形密封件密封:(圖6)

由壓環(huán)、密封環(huán)、支撐環(huán)組成。標準系列壓力為10Mpa,重載系列持續(xù)工作壓力可達63Mpa。一般適用于大型液壓油缸。
優(yōu)點:耐壓高(最高可達63Mpa),密封性能良好,工作可靠。
缺點: 摩擦阻力大,調整困難,對油缸要求較高,如活塞桿硬度一般都要求在 HRc45以上。
應用:在高壓系統(tǒng)中用得較廣泛。
6、其他常見密封件密封:
(1)DAS孔用緊湊型組合密封圈密封(圖7)

特點:活塞軸向尺寸短,安裝方便,成本低。
應用:往復運動的活塞及液壓缸,如推土機,挖掘機等。
(2)SPGW活塞組合封密封(圖8)

特點:低磨擦力和極好的耐磨性,并且耐液壓沖擊,可用于負載變化大的場合。 應用:汽車吊、挖掘機等。
三、往復運動用防塵密封件:
1.無骨架防塵圈:(圖9)

特點:結構簡單,安裝方便,成本低,油缸工作環(huán)境較好情況下使用。
應用:應用相當廣泛。
2.骨架式防塵圈密封件:(圖10)

特點:結構簡單,安裝方便,成本低,油缸工作環(huán)境較差情況下使用。
應用:應用廣泛。
3、雙作用防塵圈密封件:(圖11)

特點:結構簡單,安裝方便,并兼有密封功能,油缸工作環(huán)境較好情況下使用。
應用:應用廣泛。
四、常見旋轉油封:
一般用于各種旋轉軸上,以密封各種潤滑油、潤滑脂、水及其他流體,如油泵、液壓馬達,又如輥軋機輥軋軸等。
工作壓力:≤0.1Mpa 旋轉速度:≤14m/s
1.無骨架旋轉油封:(圖12)

2.骨架式旋轉油封:(圖13)

